MikroTik LtAP mini LTE kit 2024 (модель RB912R-2nD-LTm&EC200A-EU) — це компактна Wi-Fi точка на 2 ГГц із вбудованим 3G/4G модемом та GPS модулем. Підтримуються міжнародні смуги LTE 1, 3, 5, 7, 8, 20, 28, 38, 40, 40n. Пристрій має вологозахищений корпус.
Застосовується для роздачі інтернету по Wi-Fi в автомобілях, автобусах, трамваях, тролейбусах і поїздах. Вбудований GPS модуль дає змогу відстежувати рух транспорту в реальному часі.
Максимальна швидкість модема на завантаження становить до 150 Мбіт/с і на віддачу - до 50 Мбіт/с.
Основні характеристики
|

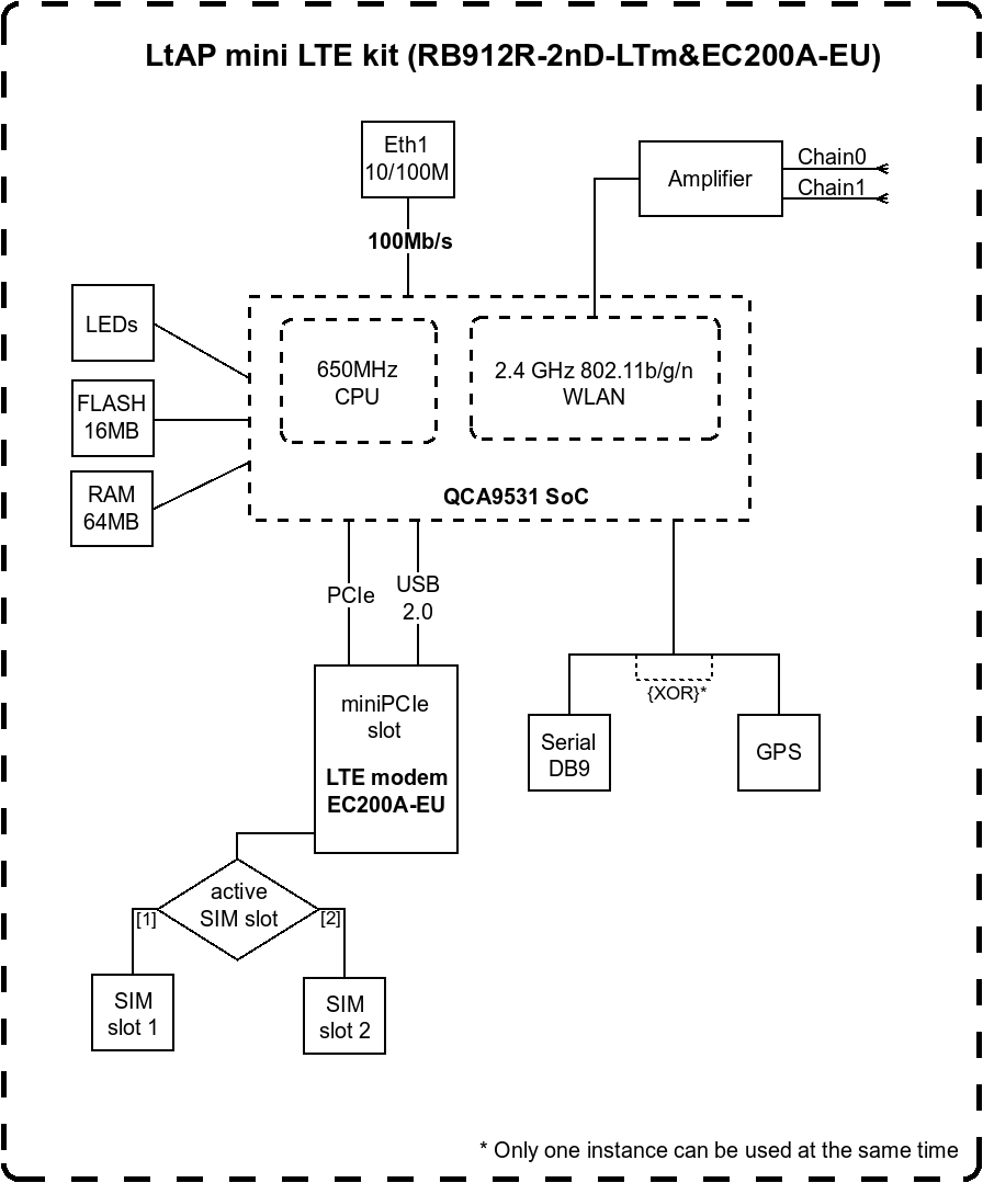
MikroTik LtAP mini LTE kit 2024 має два слоти miniSIM. Їх використовують для підключення інтернету від двох різних провайдерів. Якщо один із провайдерів не працює, то можна переключитися на другого провайдера. Одночасно два провайдери не працюють.
Живлення подається на RB912R-2nD-LTm&EC200A-EU трьома способами:
Отже, пристрій легко живити від акумулятора автомобіля або за допомогою автомобільного блока живлення для прикурювача з виходом MicroUSB 5В.
Всередині пристрою є дві вбудовані LTE антени з роз'ємами u.FL. За бажання їх можна від'єднати і під'єднати зовнішню LTE-антену для кращого приймання сигналу, наприклад, антену MikroTik mANT LTE 5o з перехідником MikroTik ACSMAUFL.
Пристрій має вбудовану GPS антену з роз'ємом u.FL. Її також можна від'єднати та під'єднати зовнішню GPS-антену, наприклад, антену MikroTik ACGPSA з перехідником MikroTik ACSMAUFL, що не входять до комплекту постачання та купуються окремо. Після під'єднання зовнішньої антени, її потрібно активувати, вибравши port serial0.

Підключення зовнішньої LTE і GPS антени.
Усередині встановлена операційна система RouterOS Level4. Вона дасть змогу налаштувати рівномірний розподіл швидкості інтернету між усіма клієнтами Wi-Fi мережі.
Wi-Fi точка розрахована на експлуатацію всередині приміщення або на вулиці за температури від -40°C до +70°C.
MikroTik LtAP mini LTE kit 2024 відмінно підійде для роздачі інтернету по Wi-Fi, використовуючи мережі мобільних операторів.
![]() | ![]() | ![]() | ![]() | ![]() | ||||
Точка доступу | Блок живлення 24В, 1.2А | POE інжектор | DC кабель | Комплект шурупів |
| Система | |
|---|---|
| Процесор: | QCA9531 650 MГц |
| RAM: | 64 MB |
| Flash: | 16 MB |
| Роз'єми: | 1 × 10/100 Мбіт/с Ethernet 2 × Mini SIM слот 1 × COM порт (для налагодження через консоль) 1 × micro USB type AB порт (тільки для живлення) |
| ОС: | MikroTik RouterOS v7 Level4 license |
| Wi-Fi | |
| Стандарти: | 802.11b/g/n |
| Режими роботи: | Access Point Station Point-to-point |
| Пропускна здатність: | 300 Мбіт/с |
| Частоти: | 2412 – 2484 ГГц |
| Потужність передавача: | 22 dBm (158 мВт) |
| Підсилення Wi-Fi антени: | 2 × 1.5 дБі |
| Поляризація: | Подвійна |
| Гор. поляризація: | 360° |
| Верт. поляризація: | 360° |
| LTE | |
| 2G Category: | Class12 |
| 3G Category: | R7 (21Mbps Downlinks, 5.76Mbps Uplink) |
| LTE Category: | 4 (150Mbps Downlink, 50Mbps Uplink) |
| LTE FDD bands: | 1 (2100MHz) / 3 (1800MHz) / 5 (850MHz) / 7 (2600MHz) / 8 (900 MHz) / 20 (800MHz) / 28 (700MHz) |
| LTE TDD bands: | 38 (2600MHz) / 40 (2300MHz) / 41n (2500MHz) |
| Підсилення LTE антени: | 2 × 3.5 дБі (u.FL роз'єм) |
| GPS | |
| Чип: | MT3337V |
| Роз'єми: | 1 × u.FL роз'єм для зовнішньої антени |
| Інше | |
| Розміри: | 139 × 77 × 28,5 мм |
| Вага: | |
| Електроживлення: | Jack: 8..30 V DC PoE In: 12..57 V DC on Ethernet port (802.3af/at), POE-інжектор в комплекті MicroUSB: 5V DC |
| Робоча температура: | від -40°C до +70°С |
RATE (2.4 GHz) | Tx (dBm) | Rx (dBm) |
|---|---|---|
| 1MBit/s | 25 | -100 |
| 11MBit/s | 25 | -94 |
| 6MBit/s | 25 | -96 |
| 54MBit/s | 19 | -78 |
| MCS0 | 25 | -96 |
| MCS7 | 18 | -73 |
| QCA9531 100M one port test | ||||||||
|---|---|---|---|---|---|---|---|---|---|
Mode | Configuration | 1518 byte | 512 byte | 64 byte | |||||
| kpps | Mbps | kpps | Mbps | kpps | Mbps | ||||
| Bridging | none (fast path) | 8.1 | 98.4 | 23.5 | 96.3 | 173.6 | 88.9 | ||
| Bridging | 25 bridge filter rules | 8.1 | 98.4 | 23.5 | 96.3 | 70.9 | 36.3 | ||
| Routing | none (fast path) | 8.1 | 98.4 | 23.5 | 96.3 | 160.8 | 82.3 | ||
| Routing | 25 simple queues | 8.1 | 98.4 | 23.5 | 96.3 | 90.8 | 46.5 | ||
| Routing | 25 ip filter rules | 8.1 | 98.4 | 23.5 | 96.3 | 43.2 | 22.1 | ||
Відгуки про MikroTik LtAP mini LTE kit 2024 (RB912R-2nD-LTm&EC200A-EU)
2 - Вайфай досить слабкий - може недобивати навіть у сусідню кімнату, звичайний роутер з вайфай-антенами (не вбудованими у корпус) покриває квартиру значно краще.
3 - не бачив картку Lifecell, з якою успішно працював звичайний USB 4G модем. Київстар/водафон підхопив на тих самих налаштуваннях, у тому ж слоті.
4 - досить сильно гріється - найкраще монтувати його металевою базою на якийсь тепловідвід.
Резюме: для своїх цілей - у автобус - крута штука. Також корисний, коли треба складні налаштування. Але треба розуміти, що там всередині повноцінна операційна система, новачок з наскоку не налаштує - треба спеціаліста.